
고전압 펄스파 발생제어 장치 및 그 구동방법1020130100434

센서네트워크 통신을 이용한 고객 관리 시스템 및 방법1020140035946

인출식 화장품 거치대1020150155417

혼합발생 제어장치 및 그 구동방법1020140048078

충돌물체 좌표산정용 디스플레이 시스템 및 그 구동방법1020150134989

안전관리용 실시간 경보시스템 및 그 구동방법1020150109656

차량 윈도우 보호장치 1020150081322

안전운전용 영상표시장치 및 그 구동방법1020140037795

차량용 스프레이 체인 작동장치 10-2014-0051562

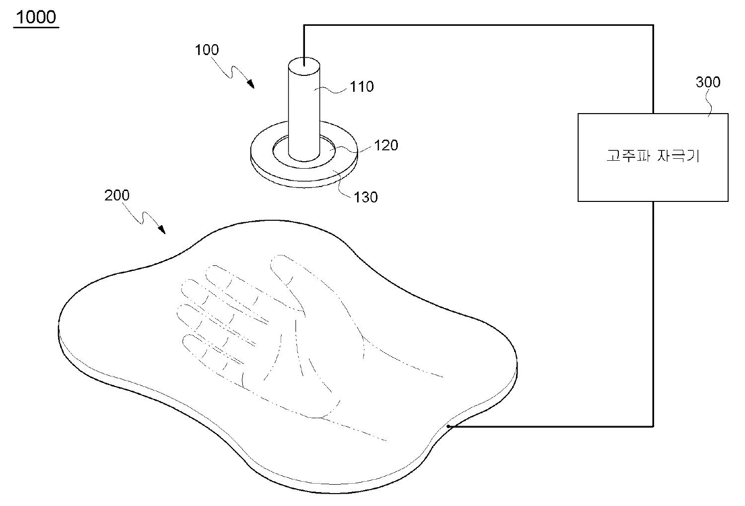
전극 핸들 10-2015-0132871

배터리 내부 전극 및 이의 제조방법 10-2014-0114080

고주파 고전압 전도용 전극장치 10-2015-0104135