
수경재배 및 세균배양용 친수성 기구물 및 그 사용방법1020130125323

친환경 와이어 쏘 절단 장치 및 방법(S.W.S.)1020130108425

고압 펄스용 자기공진 트랜스포머 및 제조방법1020110129722

충전식 버스 엘이디실내등1020110142902

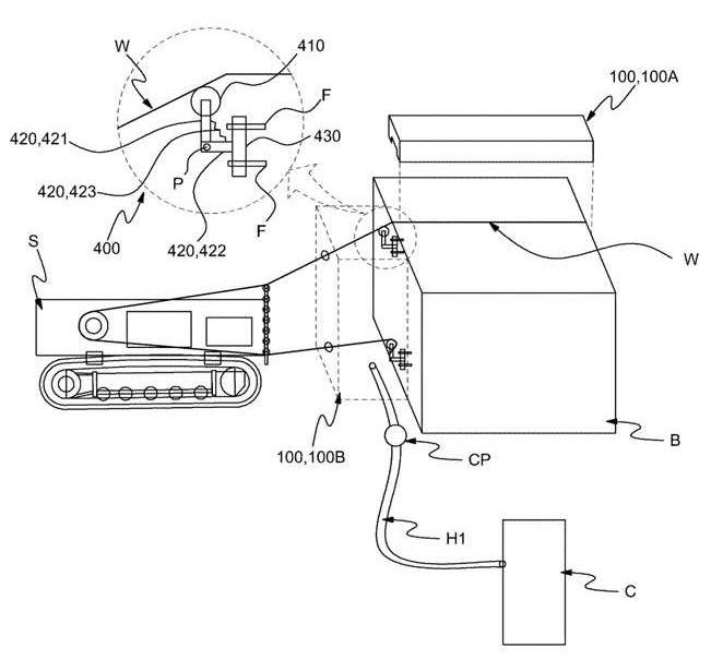
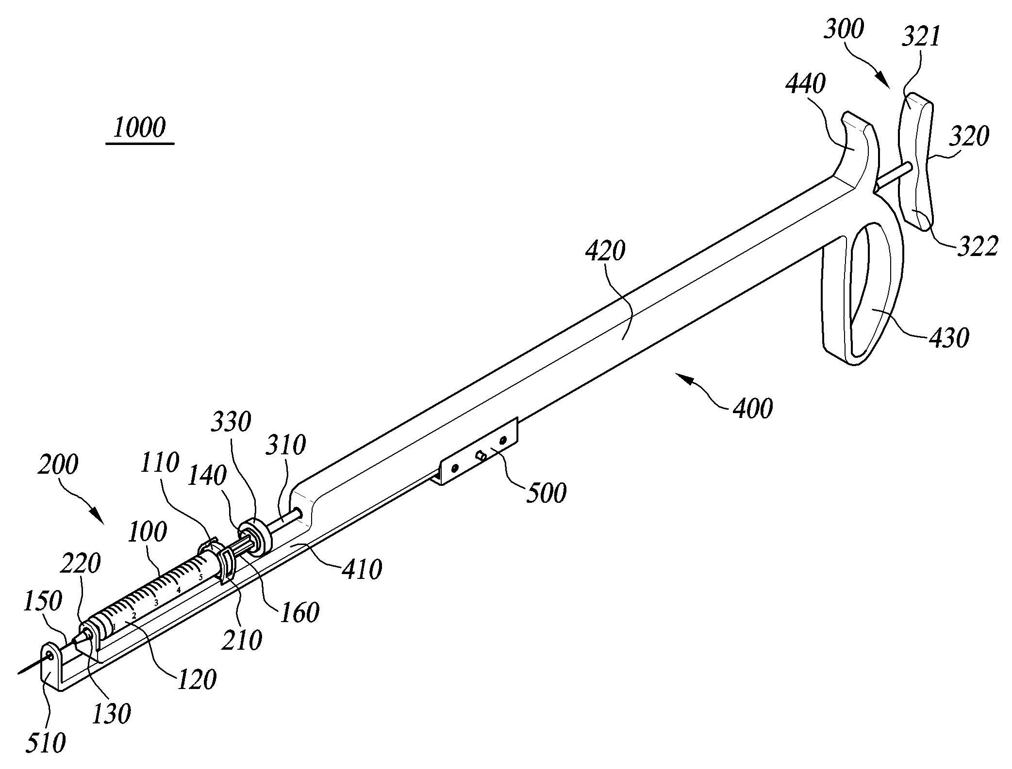
일회용 주사기 탈부착용 주사액 주입장치 및 그 구동방법1020130048684

실효적 펄스제어를 이용한 유전체 가열 방법 및 그 장치1020110124446

은이 도금 코팅된 스타일러스 펜 및 그 제조방법1020130001582

증거 족적 대비 방법1020090106918

V자형 궤도면 연삭 방법1020090101918

목재를 사용한 위생 도마1020100005116

냉각 장치가 구비된 노즐 텝1020090067868

무선 신호 강도 측정을 위한 검사시스템1020110074694