
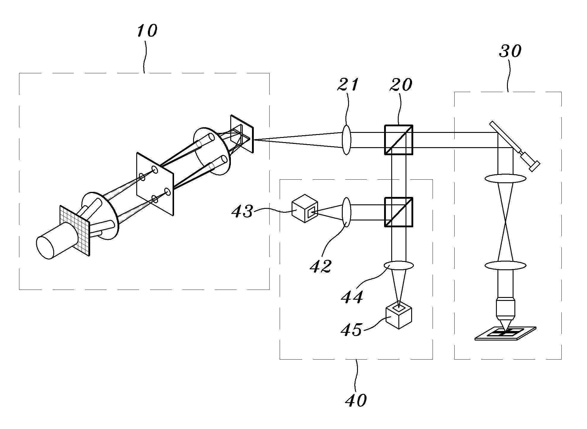
십자형 구조 조명 선형 패턴을 이용한 구조 조명 공초점 현미경1020100013238

탈부착이 용이한 자명식 도난 방지장치1020090073753

바지 홀딩 장치1020090059194

계통연계형 태양광발전을 이용한 경전철 전력공급장치1020100005889

자동차용 차광장치1020090099277

LFG 가스 연료화 장치1020090113765

에어백 설치용 슈트 구조1020090066655

에어백 도어의 결합구조1020090035062

풍력발전기1020090103060

풍력발전기1020090040241

내식성 향상 치열 교정용 와이어 제조방법 1020090043540

태양집광부가 구비된 식물재배용 해가림장치1020090004887